- Partiron
- OEM Parts
- KTM
- Street
- Travel
- Travel Enduro
- Travel Mid
- 640 Adventure R
- 640 Adventure-R D 1998
- 640 ADVENTURE-R D <1998>
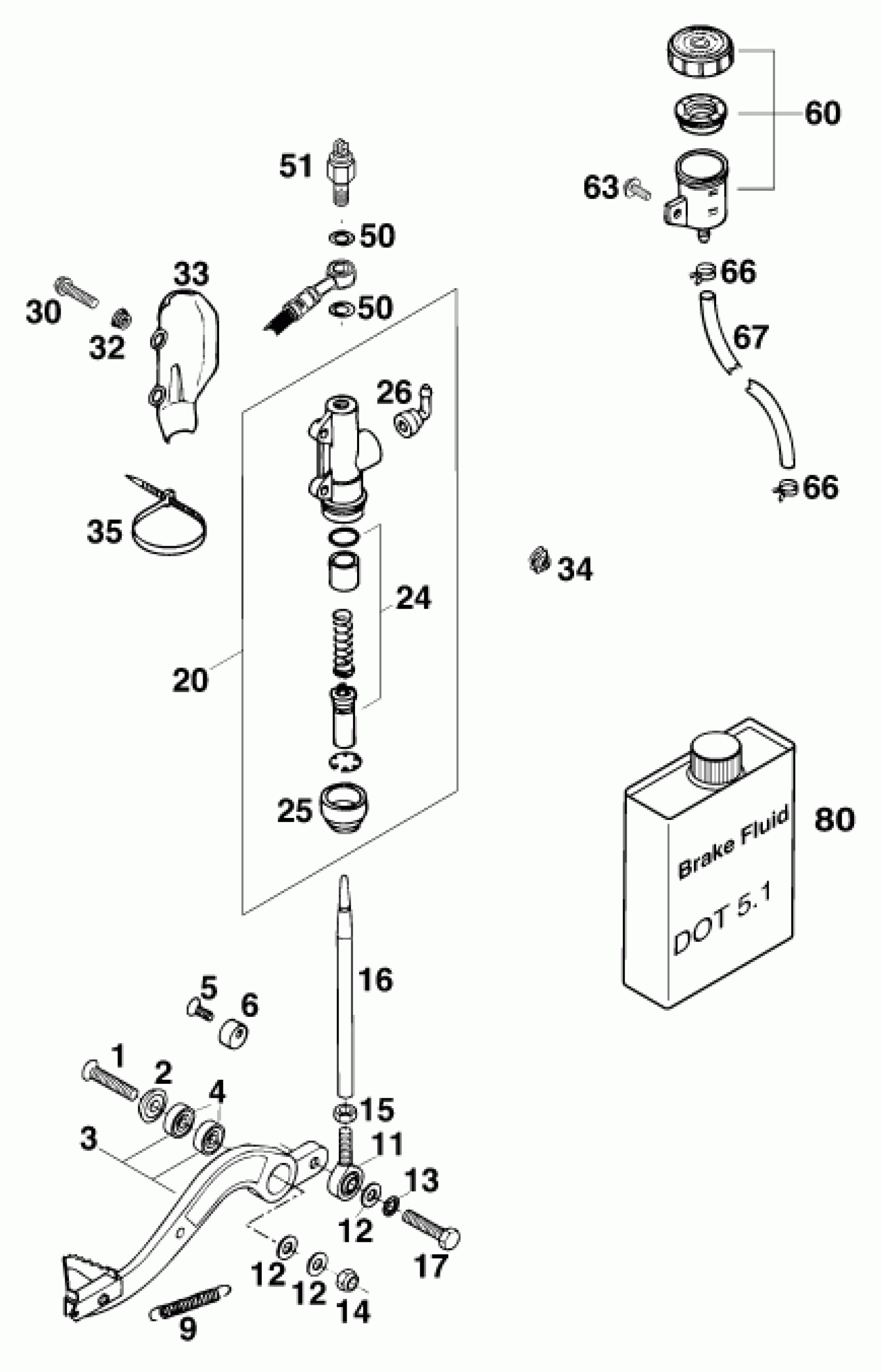
REAR BRAKE CONTROL
KTM 640 ADVENTURE-R D <1998> REAR BRAKE CONTROL Diagram
#
Description
Price
3
58303060344
Unavailable
16
PUSH ROD ALU L=178MM '
58303168000
Unavailable
51
REAR BRAKE LIGHT SWITCH '
50311051000
Unavailable
67
HOSE FOR RESERVOIR 6X1,5
58007016101
Unavailable
80
BRAKE FLUID DOT 4.0
306054
Unavailable
