- Partiron
- OEM Parts
- KTM
- Street
- Travel
- Travel Enduro
- Travel Mid
- 640 Adventure R
- 640 Adventure-R D 1998
- 640 ADVENTURE-R D <1998>
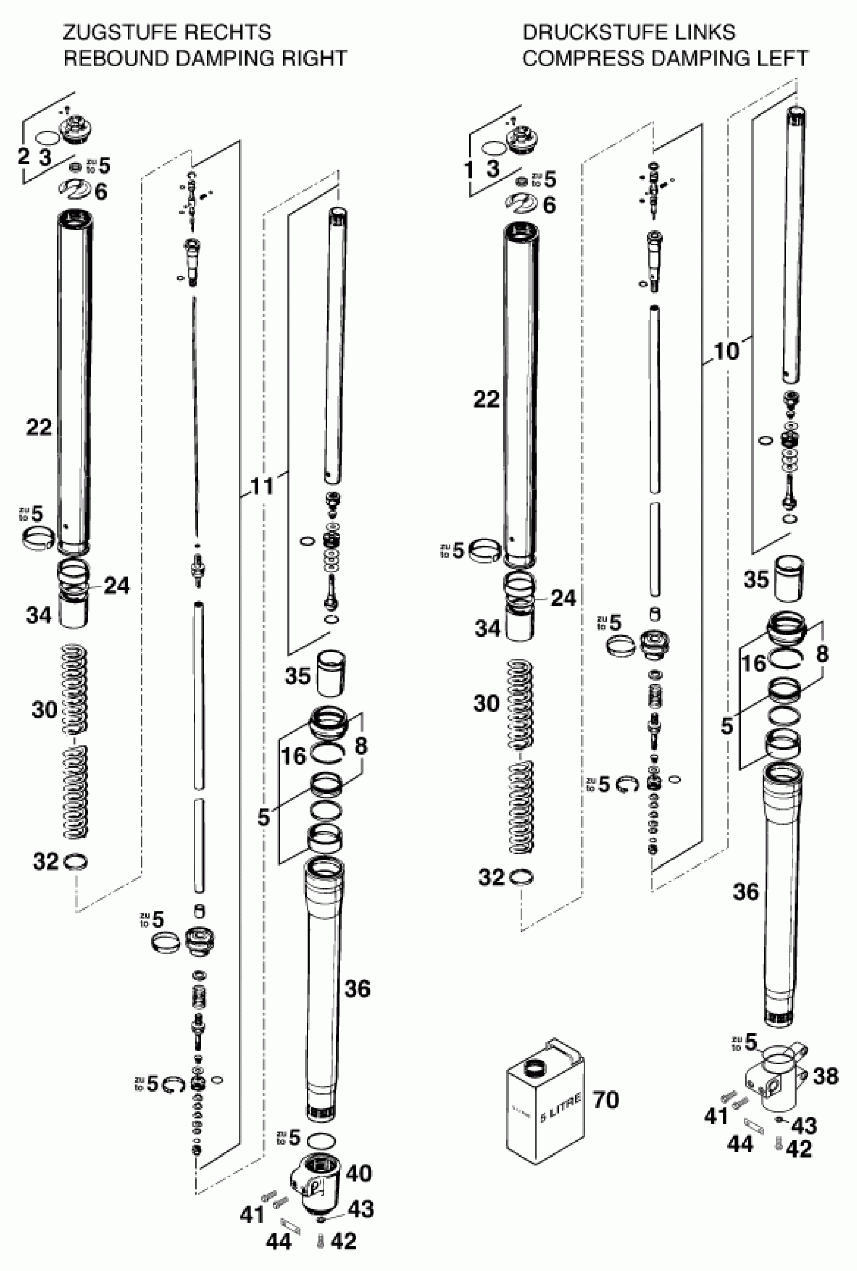
FRONT FORK DISASSEMBLED
KTM 640 ADVENTURE-R D <1998> FRONT FORK DISASSEMBLED Diagram
#
Description
Price
1
* SCREW CAP CPL.COMPRESS DAMPI
58301408000
Unavailable
2
SCREW CAP CPL. REBOUND DAMPI
58301409000
Unavailable
3
O-RING 40,00X2,00 FPM 75
0770400020
Unavailable
5
% GASKET SET WITH SLIDING BUSH
58301414000
Unavailable
6
SPRING RETAINER WITH SLOT
58301423000
Unavailable
8
REPAIR KIT SHAFT SEAL RINGS
58301415000
Unavailable
10
% CARTRIDGE L/S COMPR. ADV. '
58201010000
Unavailable
11
% CARTRIDGE R/S REBOUND ADV. '
58201011000
Unavailable
16
% CIRCLIP D=50MM
58301429000
Unavailable
22
% FORK TUBE D=50MM/L=668MM '
54701003000
Unavailable
24
WASHER 32X45X2
58301419000
Unavailable
30
* SPRING 3,8 N/MM SET
54701021038
Unavailable
30
SPRING 4,0 N/MM SET
54701021040
Unavailable
30
% SPRING 4,2 N/MM SET
54701021042
Unavailable
30
* SPRING 4,4 N/MM SET
54701021044
Unavailable
30
* SPRING 4,6 N/MM SET
54701021046
Unavailable
30
% SPRING 4,8 N/MM SET
54701021048
Unavailable
32
RING 35X41,5X2,5
54701016000
Unavailable
34
BUSHING 44,5X35X80
54701022000
Unavailable
35
% SLIDING BUSH HYDRO-STOP L=73
54701018000
Unavailable
36
% OUTER TUBE L=439MM
54701004000
Unavailable
38
% AXLE CLAMP L/S 300MM M8 '9
58201006100
Unavailable
40
% AXLE CLAMP R/S EXTREME M8 '
54701007000
Unavailable
43
SEAL RING 8X12X1,5
54501081000
Unavailable
44
* CLAMPING PLATE 13,5X42,5
58301006050
Unavailable
70
FORK OIL SAE5 5 LITER
306007
Unavailable
