- Partiron
- OEM Parts
- KTM
- Offroad
- Enduro
- Enduro / Dualsport
- Enduro Mid
- LC4 Enduro
- 620 Txc 1998
- 620 TXC <1998>
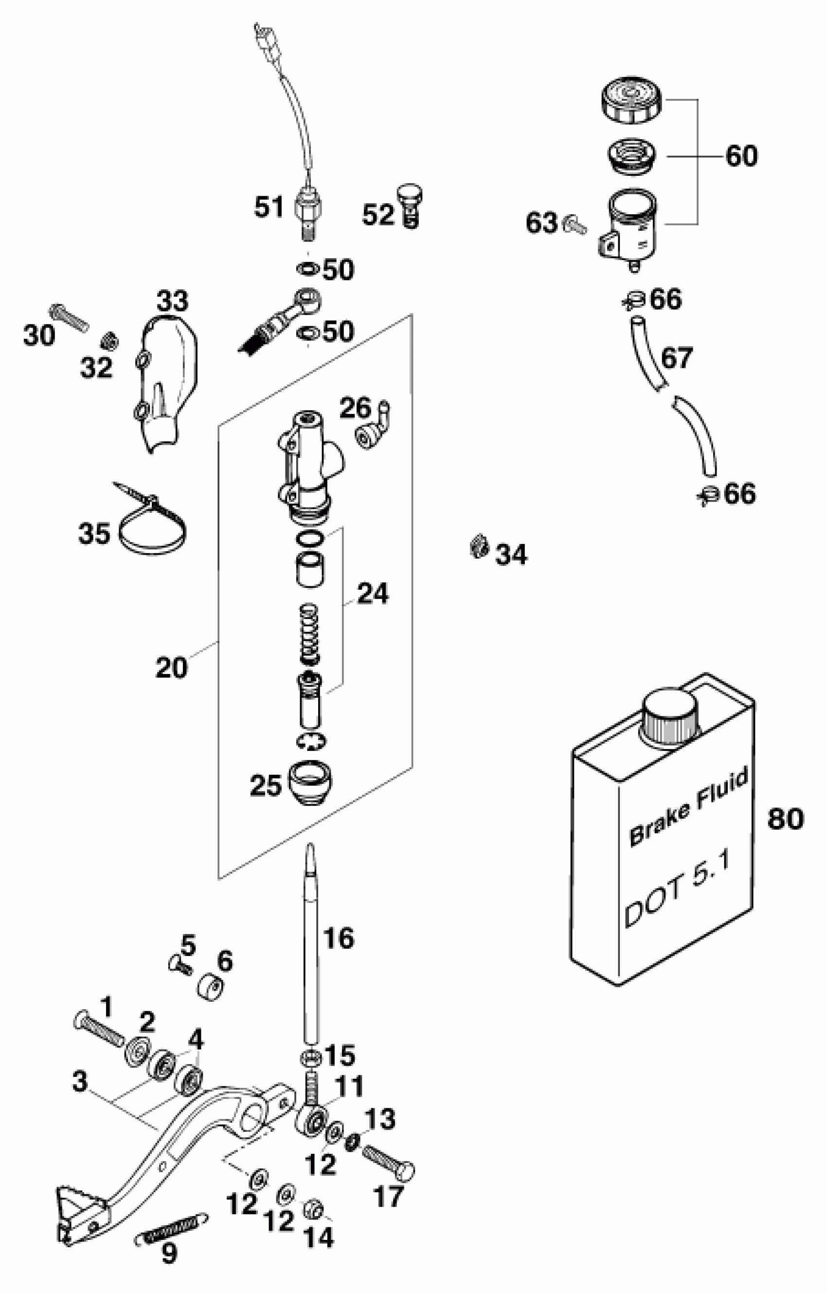
REAR BRAKE CONTROL
KTM 620 TXC <1998> REAR BRAKE CONTROL Diagram
#
Description
Price
16
PUSH ROD ALU L=178MM '
58303168000
Unavailable
35
* CABLE TIE 305MM
44011176305
Unavailable
67
HOSE FOR RESERVOIR 6X1,5
58007016101
Unavailable
80
BRAKE FLUID DOT 4.0
306054
Unavailable
