- Partiron
- OEM Parts
- Polaris
- SNOW
- SNO
- 2007
- 600 RMK 144/155 - S07PK6FS/FE/PM6FS/PM6FSA
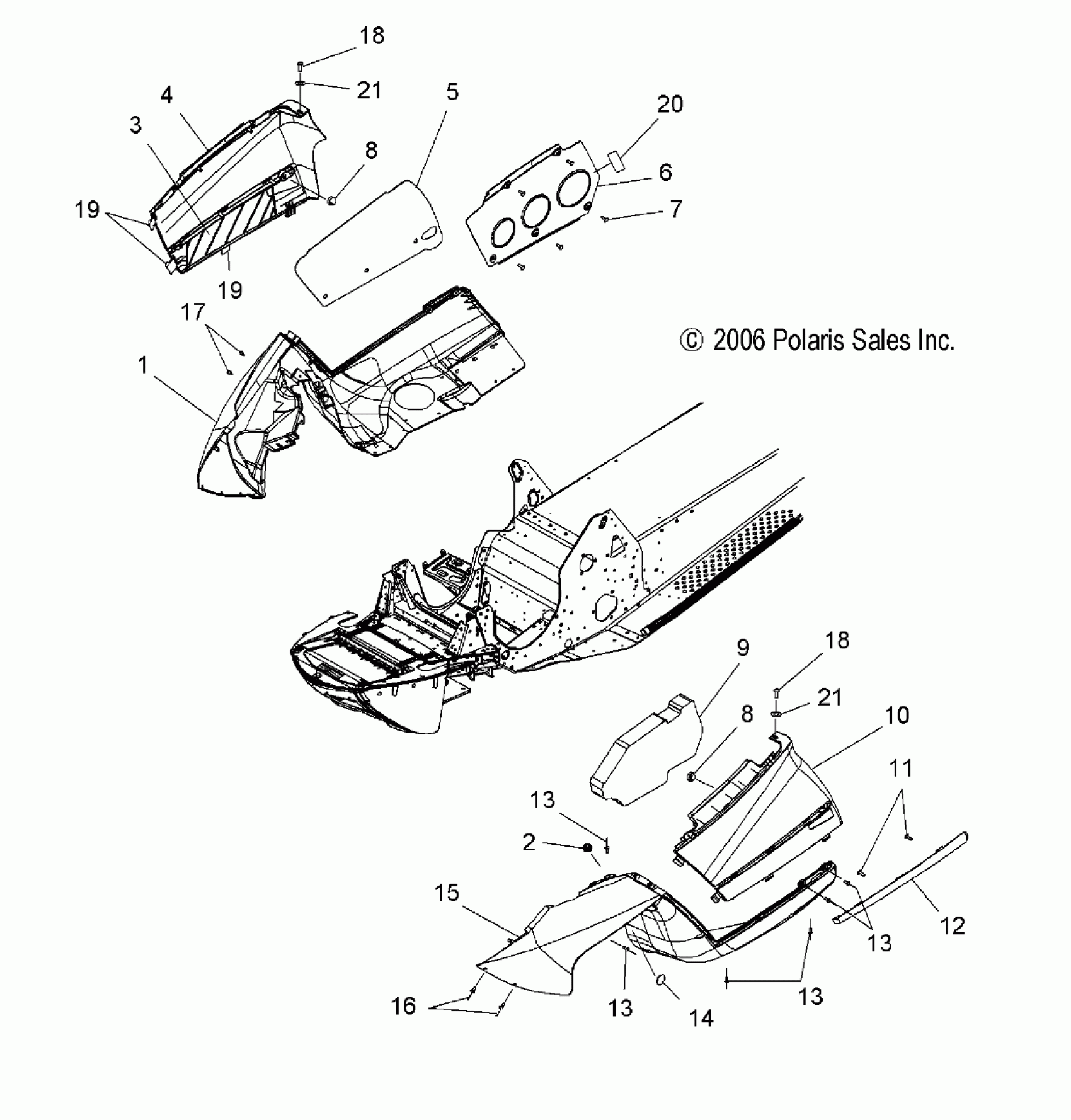
FENDERS and SIDE PANELS - S07PK6FS/FE/PM6FS/PM6FSA (49SNOWFENDERS600RMK)
Polaris 600 RMK 144/155 - S07PK6FS/FE/PM6FS/PM6FSA FENDERS and SIDE PANELS - S07PK6FS/FE/PM6FS/PM6FSA (49SNOWFENDERS600RMK) Diagram
#
Description
Price
1
Seal, Bulb 350 cm
5521697-350
Unavailable
1
Asm., Fender, Black, RH [Incl. Foam and Foil]
2633254-070
Unavailable
10
Seal, Bulb 350 cm
5521697-350
Unavailable
10
Asm., Side Panel, Black, LH
2633420-070
Unavailable
15
Seal, Bulb 350 cm
5521697-350
Unavailable
