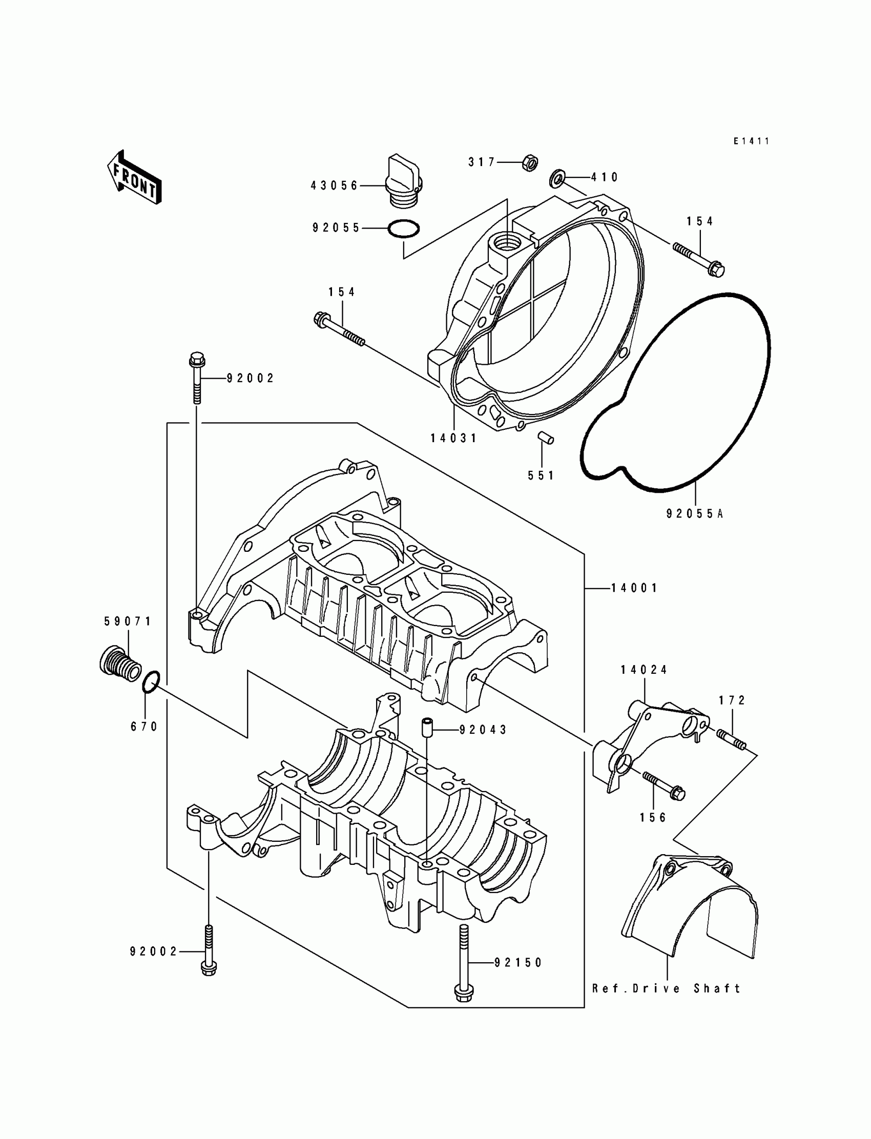
Kawasaki 550 SX Crankcase Diagram
#
Description
Price
14001
SET-CRANKCASE
14001-5265
Unavailable
14024
COVER
14024-3778
Unavailable
14031
COVER-GENERATOR
14031-3705
Unavailable
59071
JOINT
59071-516
Unavailable
