Partiron

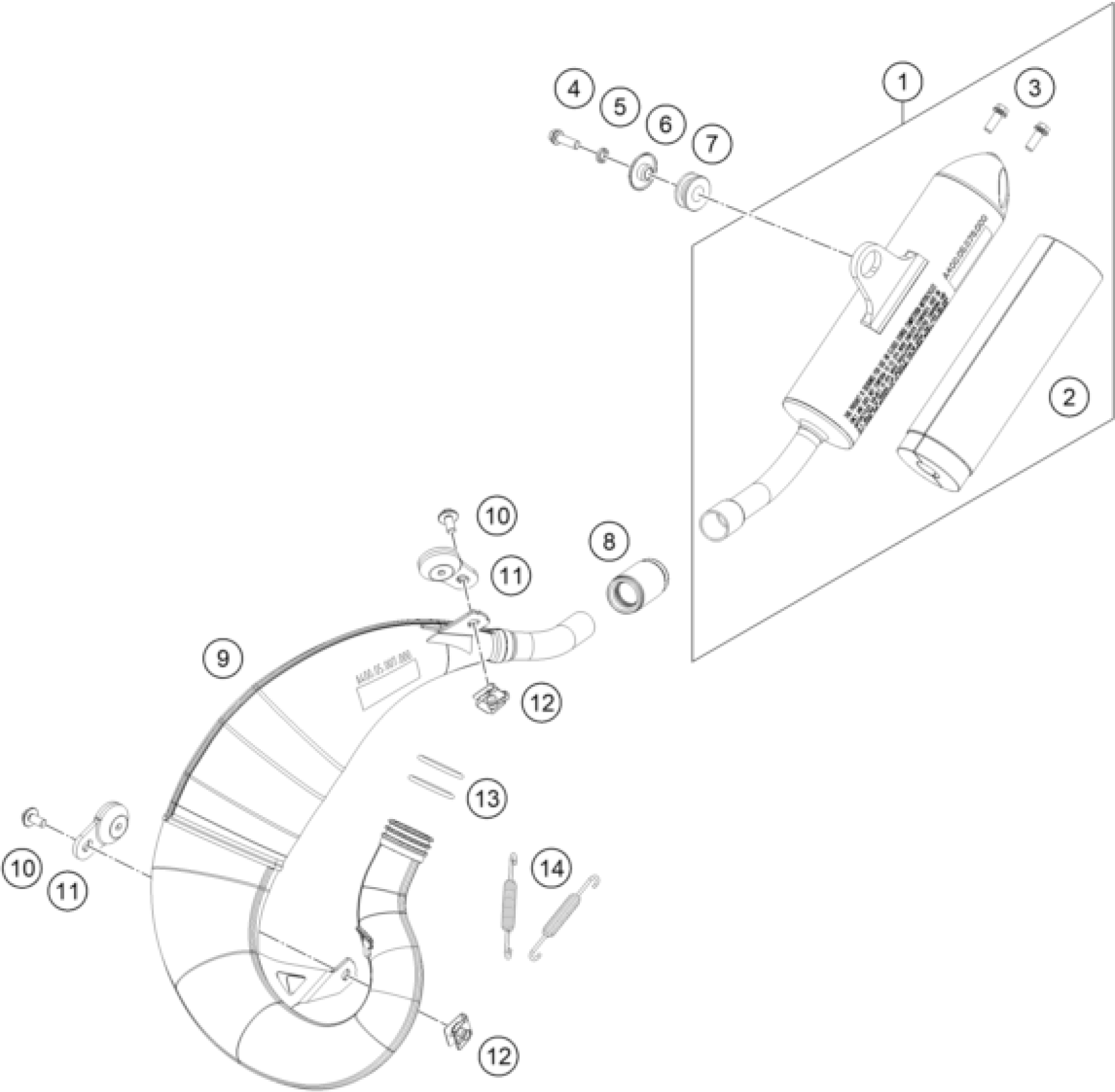
KTM 50 SX 2024 EXHAUST SYSTEM Diagram

#

Description
Price

1

silencer 50 SX/TC

A40005079000

$211.77

2

Damping material

46305079185

$17.01

3

HH collar screw M6x16 TX30

0025060166

$3.08

4

HH collar screw M6x20 TX30

0025060206

$3.08

5

Pair of washers M6 NORDLOCK

50233041000

$4.11

6

BUSHING 7.5X12X28X7.6

46205169000

$5.32

7

DAMP. COMPON. BLACK

77205068000

$6.54

8

Exhaust sleeve

A40005057000

$5.60

9

Header 50SX

A40005007000

$417.38

11

Silent block for exhaust pipe

50305012000

$19.91

10

HH collar screw M6x15 TX30

0024060156

$3.08

12

Range change metal nut.M6 SS

0910000607500

$1.67

13

O-RING 30X3 VITON

0770300030

$5.23

14

Tension spring L=62mm

A46005016000

$4.57