Polaris 350L 6X6 - W938739 CARBURETOR 6X6 350L W938739 (4924062406047A) Diagram
#
Description
Price
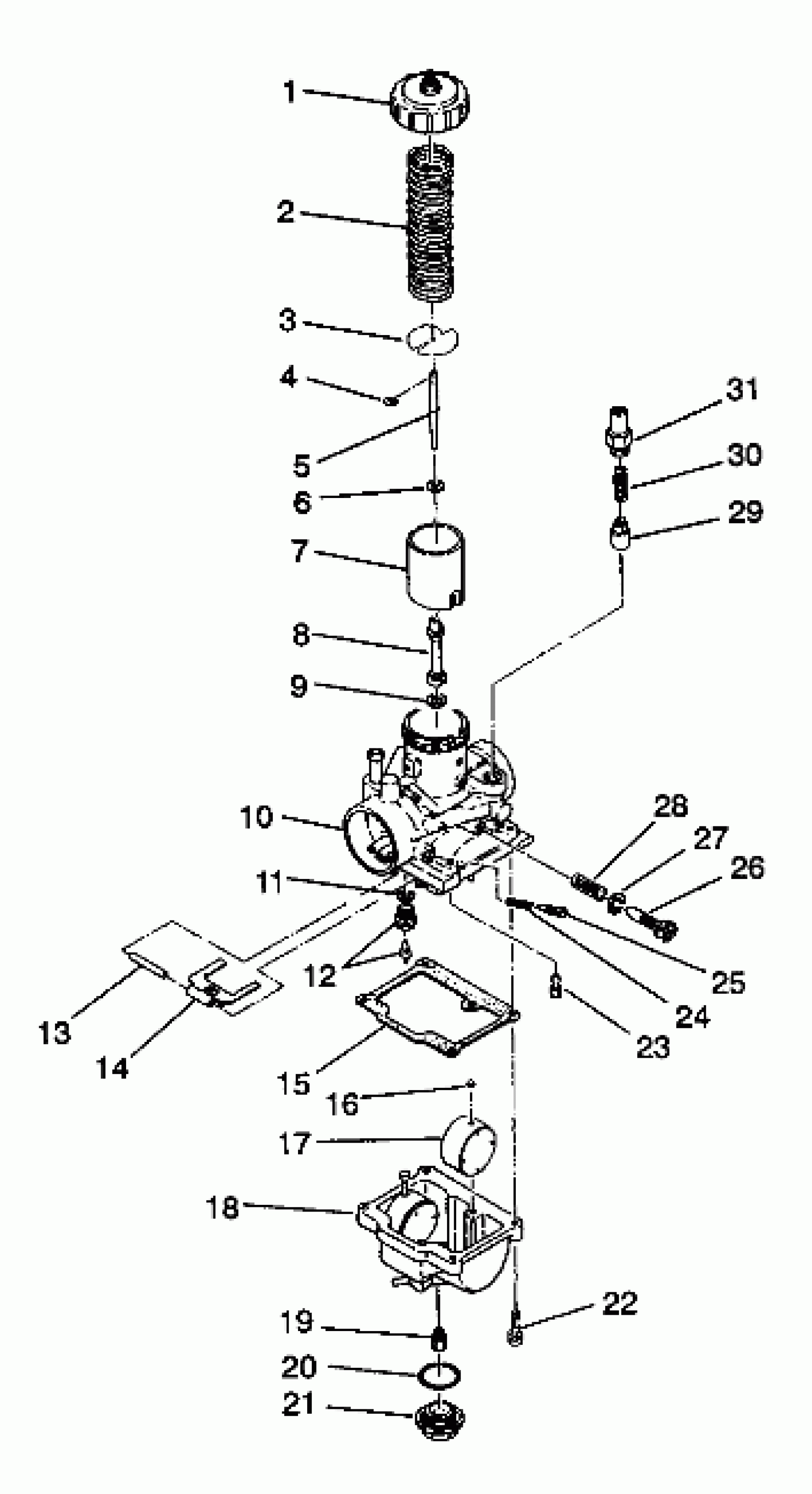
4
E RING(10) Substituted by 3130508
3130003
Unavailable
5
JET NEEDLE,6-DH29 (6DH29-2)
3130462
Unavailable
7
VALVE,THROTTLE(1.5) (1.5)
3130427
Unavailable
8
NEEDLE JET ASM.
3130429
Unavailable
9
RING, MAIN JET
3130393
Unavailable
10
CARBURETOR (Incl.1-31)
3130425
Unavailable
18
BOWL, FLOAT (350)
3130443
Unavailable
20
O RING
3130239
Unavailable
27
Washer
3130447
Unavailable
28
SPRING,THROT.ADJ.
3130436
Unavailable
