- Partiron
- OEM Parts
- Polaris
- ATV
- 1993
- 350L 4X4 - W938139
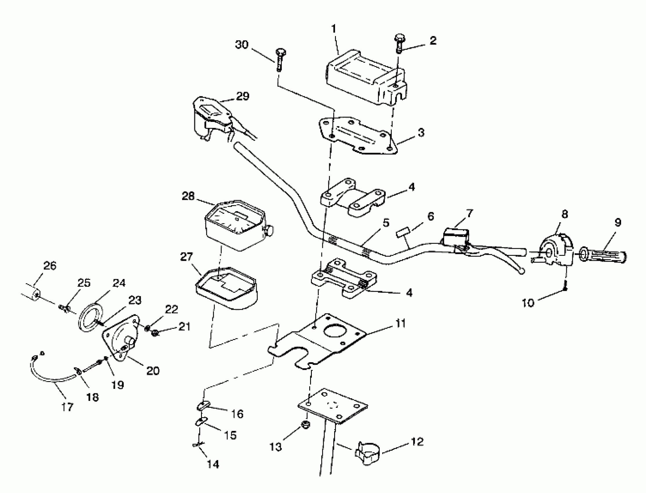
STEERING - HANDLEBAR 4X4 350L W938139 (4924052405017A)
Polaris 350L 4X4 - W938139 STEERING - HANDLEBAR 4X4 350L W938139 (4924052405017A) Diagram
#
Description
Price
2
BOLT(10) Substituted by 7515197
7512286
Unavailable
5
TUBE,HDLBR,BLACK Substituted by 5242988-067
5224316-067
Unavailable
6
DECAL,O'RIDE SW.(4X4) Substituted by 7076273
7072827
Unavailable
8
SWITCH, LH, H'BAR Substituted by 4110157
4110142
Unavailable
10
SCREW
2010055
Unavailable
17
CABLE, SPEEDOMETER Substituted by 3280184
3280130
Unavailable
19
SEAL, SPEEDO.CABLE
3280132
Unavailable
20
ADAPTER,DRIVE,(1:1.2),ATV Substituted by 3280219
3280128
Unavailable
22
WASHER(10)
7555725
Unavailable
26
Shaft, Output (See Gearcase Assembly pg. 34, Ref. 41)
-------
Unavailable
27
MOUNT, SPEEDOMETER
5410546
Unavailable
28
SPEEDOMETER, ATV
3280129
Unavailable
29
THROTTLE CONTROL ASM.(4X4) Substituted by 2010151
2010144
Unavailable
