- Partiron
- OEM Parts
- KTM
- Offroad
- Cross Country
- E3
- 2 stroke
- 300 MXC
- 300 MXC Marzocchi/Öhlins 13Lt 1997
- 300 MXC M/Ö 13lt <1997>
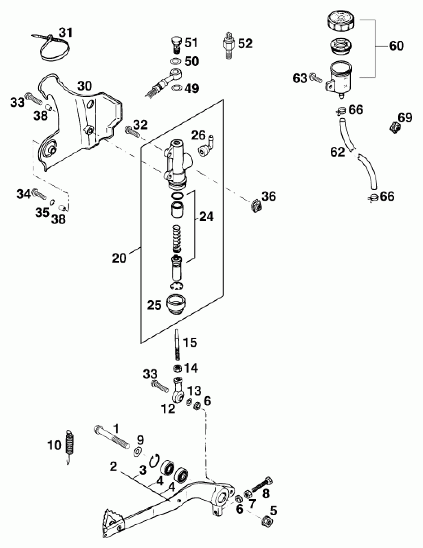
REAR BRAKE CONTROL
KTM 300 MXC M/Ö 13lt <1997> REAR BRAKE CONTROL Diagram
#
Description
Price
5
54310086000
Unavailable
30
BRAKE CYLIND. PROTECTOR 250'
54613038000
Unavailable
52
REAR BRAKE LIGHT SWITCH '
50311051000
Unavailable
62
HOSE FOR RESERVOIR 6X1,5
58007016101
Unavailable
