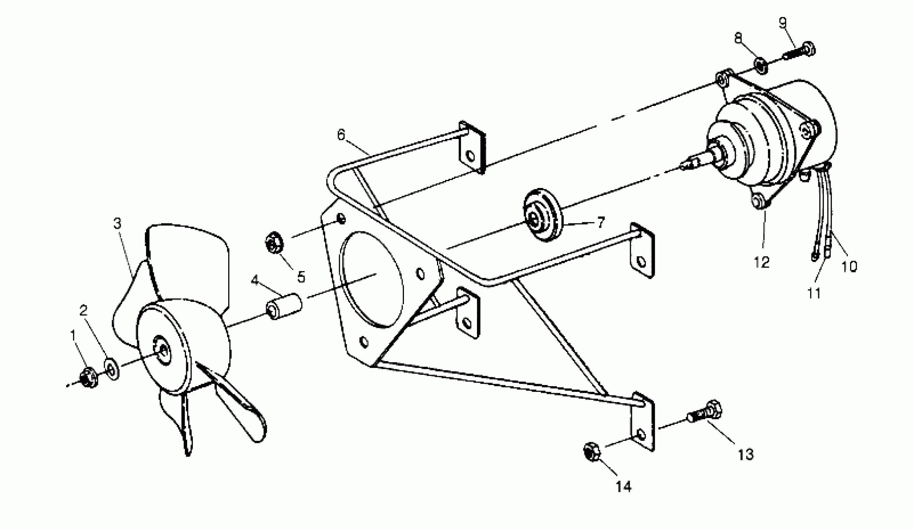
Polaris 300 6X6 - W948730 FAN ASSEMBLY 6x6 300 W948730 (4926792679D011) Diagram
#
Description
Price
1
NUT
3083952
Unavailable
2
WASHER(10) Substituted by 7558301
7555776
Unavailable
4
BUSHING
3083950
Unavailable
5
NUT(10)
7541915
Unavailable
7
COVER
3083951
Unavailable
11
PIN, CONNECTOR
4020142
Unavailable
12
MOTOR ASM. Substituted by 3084036
3083948
Unavailable
12
FAN ASM. [No Longer Available] (Incl. 1,3, 4,10,11,7)
2410033
Unavailable
12
MOTOR ASM,FAN Substituted by 4170008 (Incl. 1, 4, 7)
3084830
Unavailable
14
KIT,FAN,(SQ. TUBE) Substituted by 2871652 (Incl. 1, 5-14)
2870869
Unavailable
