Partiron

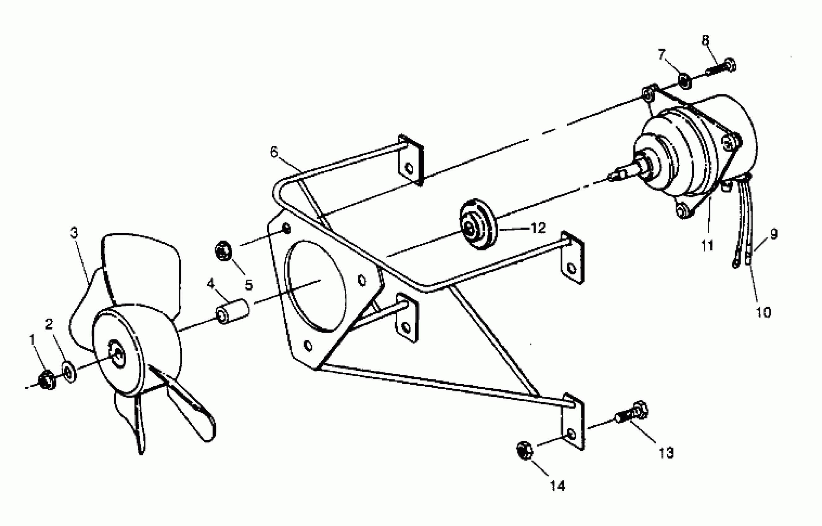
Polaris 300 4X4 - W958130 FAN ASSEMBLY 4x4 300 W958130 (4930183018A010) Diagram

#

Description
Price

1

NUT

3083952

Unavailable

2

WASHER(10) Substituted by 7558301

7555776

Unavailable

3

BLADE,FAN

5240721

$62.39

4

BUSHING

3083950

Unavailable

5

NUT(10)

7541915

Unavailable

6

MOUNT, FAN

1040386-067

$123.99

7

WASHER, FLAT(10)

7558201

$5.79

8

SCREW(10)

7511875

$4.79

9

TUBE

5521210

$1.10

10

PIN, CONNECTOR

4020142

Unavailable

11

MOTOR

3083948

Unavailable

12

COVER

3083951

Unavailable

13

SCREW(10)

7512113

$3.99

14

NUT-LOCK(10)

7542122

$1.49