- Partiron
- OEM Parts
- KTM
- Offroad
- MX
- MX1
- 2 stroke
- 250 SX
- 250 SX 2000
- 250 SX 2000
CARBURETOR
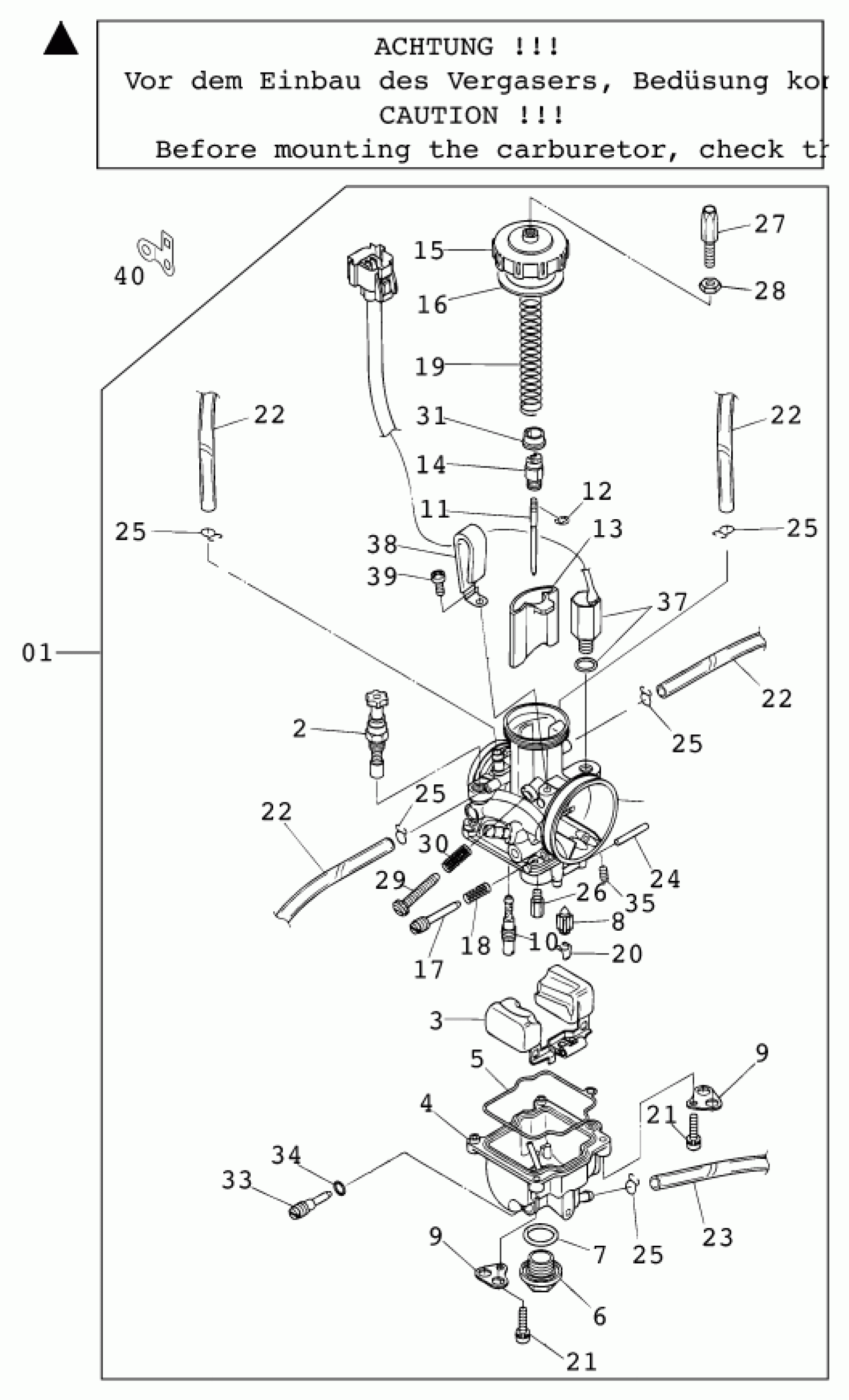
KTM 250 SX 2000 CARBURETOR Diagram
#
Description
Price
1
CARBURET.KEIHIN PWK38 AG PJ'00
54631201844
Unavailable
10
IDLE JET 40 KEIHIN
54531607040
Unavailable
10
IDLE JET 42 KEIHIN
54531607042
Unavailable
10
IDLE JET 45 KEIHIN
54531607045
Unavailable
10
IDLE JET 50 KEIHIN
54531607050
Unavailable
10
IDLE JET 52 KEIHIN
54531607052
Unavailable
10
IDLE JET 55 KEIHIN
54531607055
Unavailable
10
IDLE JET 58 KEIHIN
54531607058
Unavailable
10
IDLE JET 60 KEIHIN
54531607060
Unavailable
11
JET NEEDLE NOZ D KEIHIN
54531636004
Unavailable
11
JET NEEDLE NOZ F KEIHIN
54531636006
Unavailable
11
JET NEEDLE NOZ G KEIHIN
54531636007
Unavailable
11
JET NEEDLE NOZ H KEIHIN
54531636008
Unavailable
11
JET NEEDLE NOZ I KEIHIN
54531636009
Unavailable
19
SLIDING SPRING
54631230000
Unavailable
23
PVC-HOSE 3X5MM
52031137001
Unavailable
25
Clamp 6mm
54531696000
Unavailable
26
MAIN JET 160 KEIHIN
54531623160
Unavailable
26
MAIN JET 165 KEIHIN
54531623165
Unavailable
26
MAIN JET 170 KEIHIN
54531623170
Unavailable
26
MAIN JET 175 KEIHIN
54531623175
Unavailable
26
MAIN JET 178 KEIHIN
54531623178
Unavailable
26
MAIN JET 180 KEIHIN
54531623180
Unavailable
35
JET POWER JET 50 KEIHIN
54631085050
Unavailable
35
JET POWER JET 60 KEIHIN
54631085060
Unavailable
