- Partiron
- OEM Parts
- KTM
- Offroad
- Cross Country
- E2
- 2 stroke
- 250 MXC
- 250 MXC 2000
- 250 MXC 2000
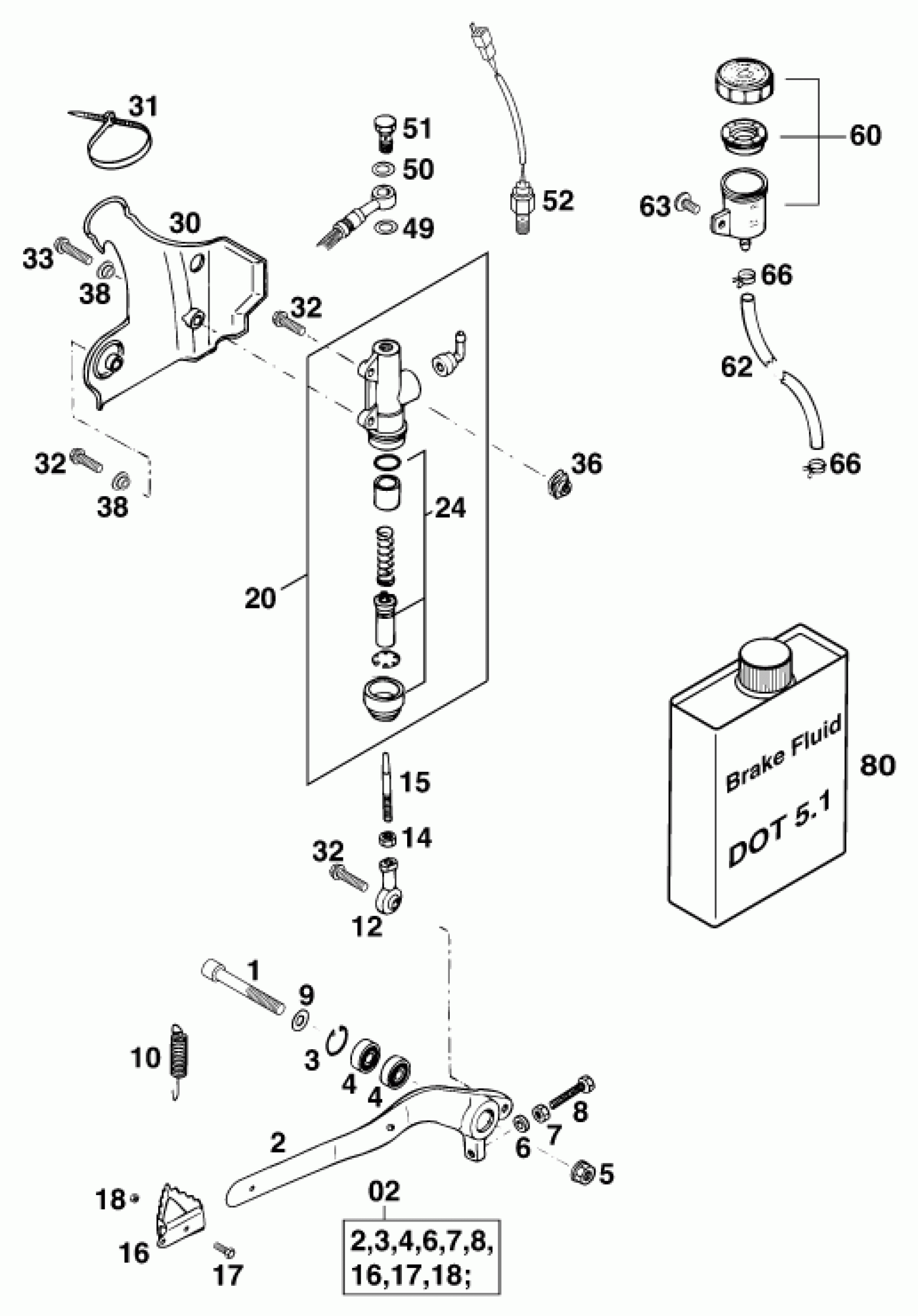
REAR BRAKE CONTROL
KTM 250 MXC 2000 REAR BRAKE CONTROL Diagram
#
Description
Price
62
HOSE FOR RESERVOIR 6X1,5
58007016101
Unavailable
80
BRAKE FLUID DOT 4.0
306054
Unavailable
