- Partiron
- OEM Parts
- Polaris
- ATV
- 1993
- 250 6X6 - W938727
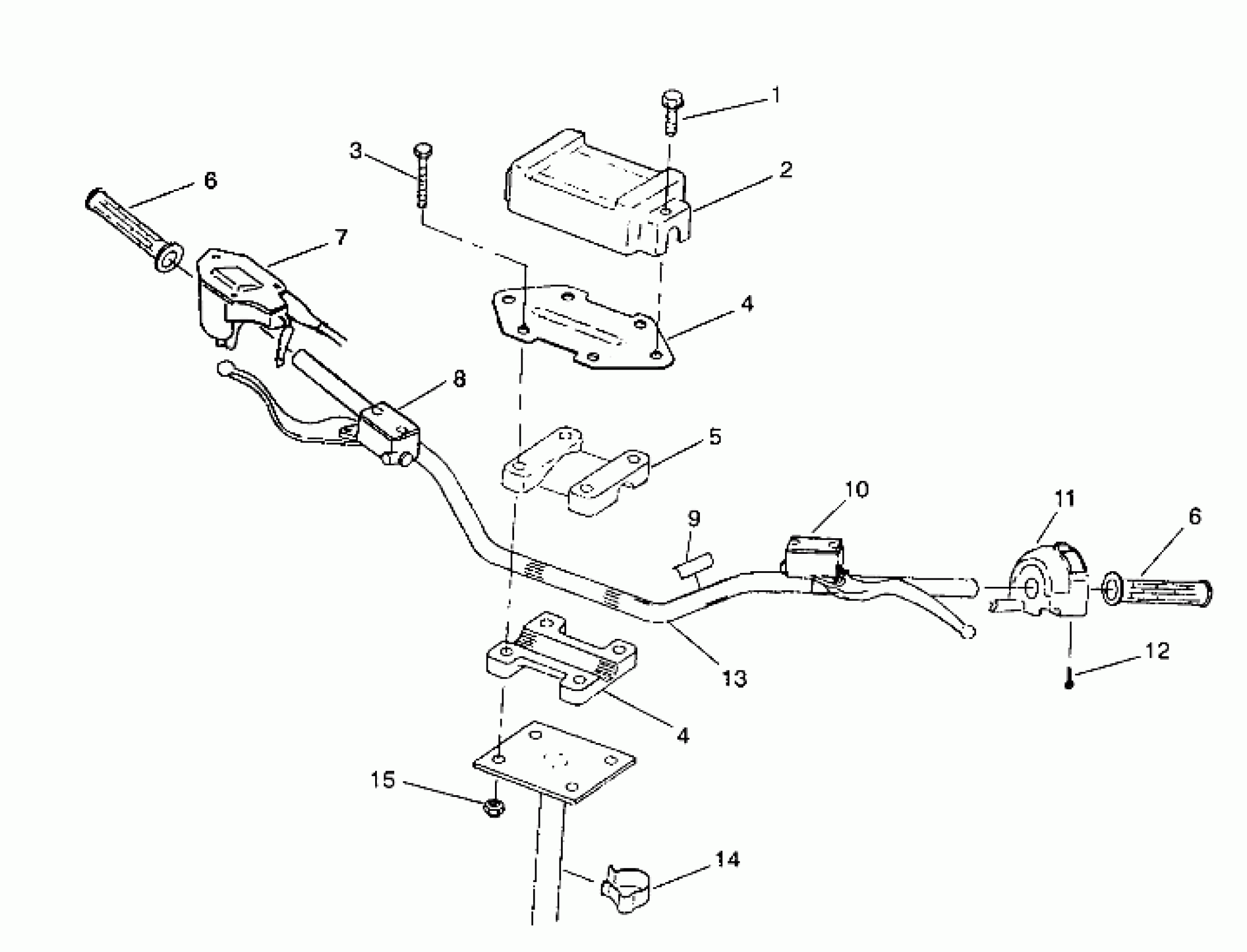
STEERING - HANDLEBAR 6X6 250 W938727 (4924092409018A)
Polaris 250 6X6 - W938727 STEERING - HANDLEBAR 6X6 250 W938727 (4924092409018A) Diagram
#
Description
Price
1
BOLT(10) Substituted by 7515197
7512286
Unavailable
7
THROTTLE CONTROL ASM.(ATV) Substituted by 2010151 (See Controls - Throttle Asm./Cable Pg. 21)
2010145
Unavailable
8
MASTER CYL.ASM,RH (See Controls - RH Master Cylinder/Brake Line Pg. 23)
1930649
Unavailable
9
DECAL,O'RIDE SWITCH Substituted by 7076273
7073162
Unavailable
10
MASTER CYL.ASM(ATV) Substituted by 2050062 (See Controls - Master Cylinder/Brake LinePg. 22)
2050066
$235.51
11
SWITCH, LH, H'BAR Substituted by 4110157
4110142
Unavailable
12
SCREW
2010055
Unavailable
13
TUBE,HDLBR,BLACK Substituted by 5242988-067
5224316-067
Unavailable
