- Partiron
- OEM Parts
- Polaris
- ATV
- 1993
- 250 6X6 - W938727
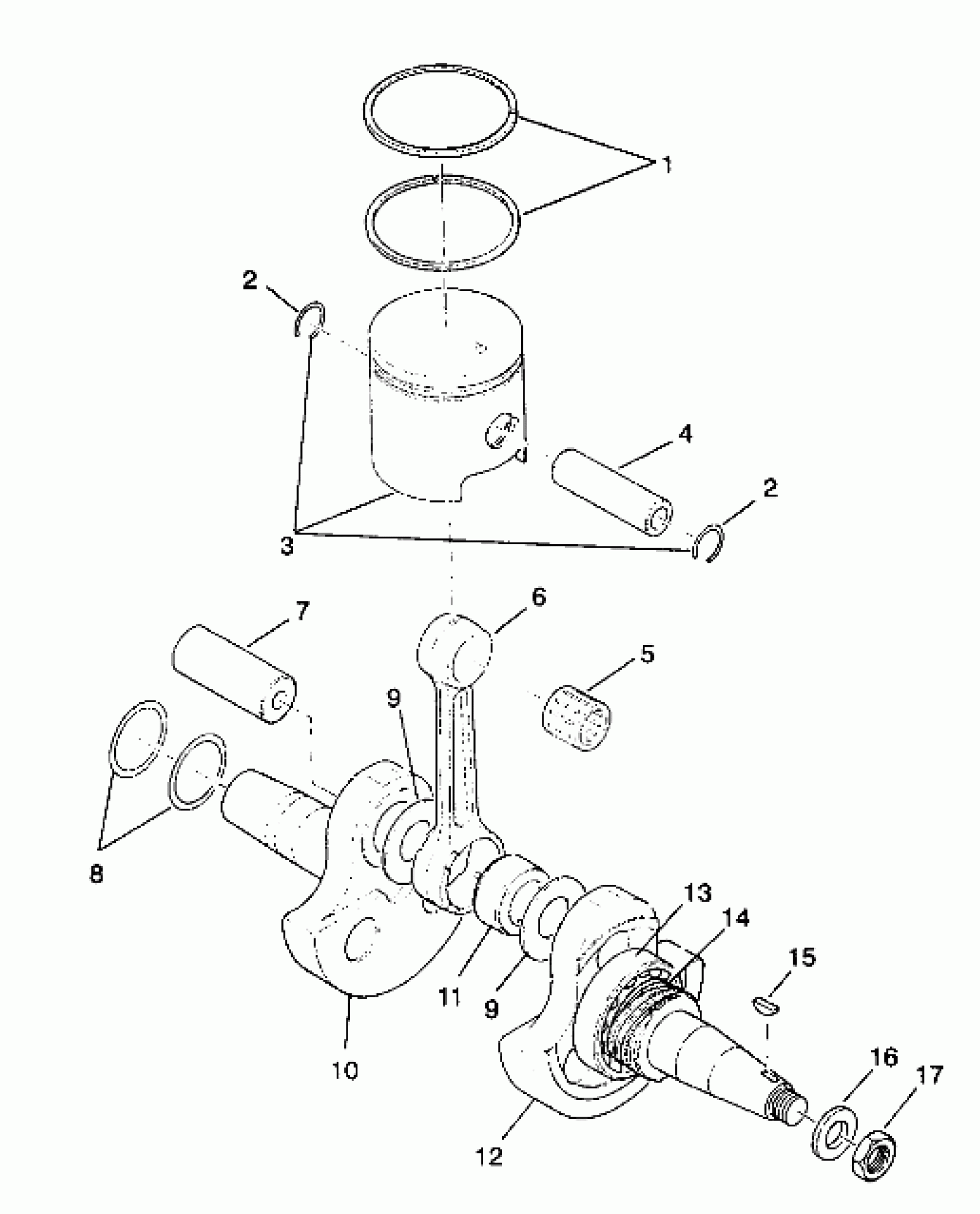
CRANKSHAFT and PISTON 6X6 250 W938727 (4924092409043A)
Polaris 250 6X6 - W938727 CRANKSHAFT and PISTON 6X6 250 W938727 (4924092409043A) Diagram
#
Description
Price
1
RING, PISTON
3083546
Unavailable
1
RING,.010 O/S
3083678
Unavailable
3
SET,PISTON,.040"/1.00MM O/S* [1.00mm/.04" O/S]
3083972
Unavailable
3
PISTON *
3083942
Unavailable
3
PISTON,.020 O/S
3083944
Unavailable
3
PISTON,.010 O/S
3083943
Unavailable
5
BEARING, SMALL END
3083626
Unavailable
6
ROD CONNECTING
3082790
Unavailable
8
SPACER #1
3083629
Unavailable
8
SPACER #3
3083630
Unavailable
10
CRANKSHAFT,#2
3083802
Unavailable
11
BEARING,LGE.END
3083803
Unavailable
12
CRANKSHAFT ASM.
3084582
Unavailable
14
GEAR, CRANKSHAFT Substituted by 3083745 (O/I)
3083414
Unavailable
16
WASHER Substituted by 3086767
3083904
Unavailable
17
LOCKNUT
3083905
Unavailable
