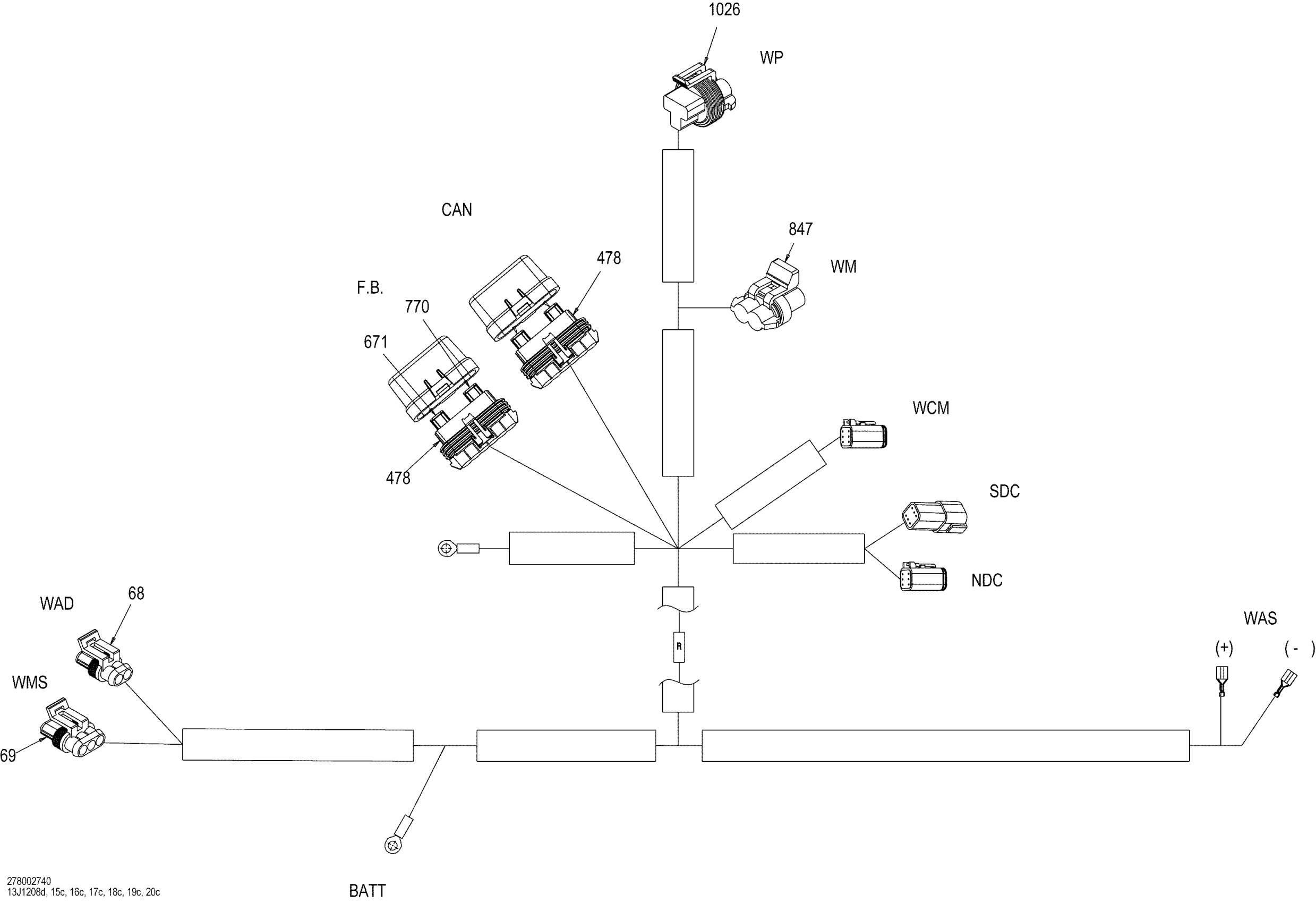
Sea-doo 210 SP 310, 2012 Electrical Harness Weedless Diagram
#
Description
Price
1
WEEDLESS SYSTEM HARNESS - Call your local BRP dealership
278002740
Unavailable
1026
FEMALE TERMINAL HOUSING, 3 CIRCUITS - Call your local BRP dealership
278002388
Unavailable
