- Partiron
- OEM Parts
- KTM
- Offroad
- Cross Country
- E2
- 2 stroke
- 200 MXC
- 200 MXC 1998
- 200 MXC '98 <1998>
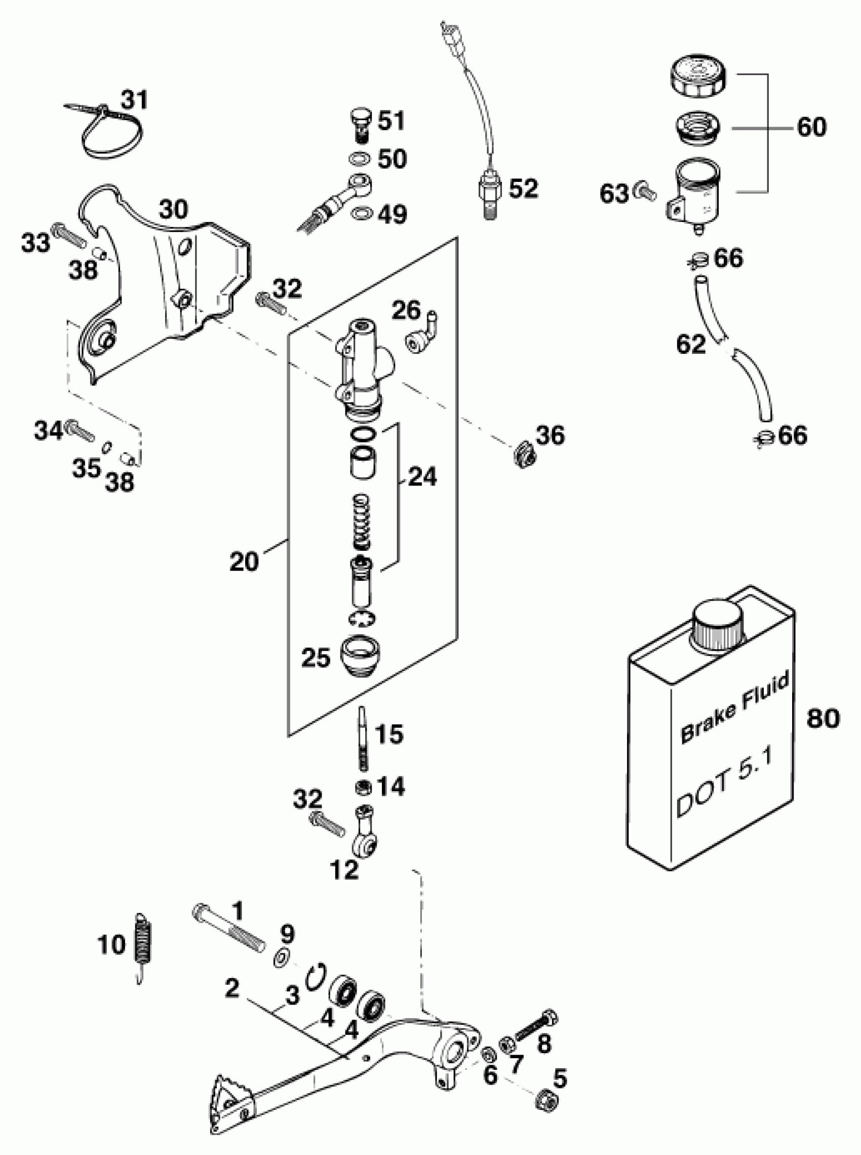
REAR BRAKE CONTROL
KTM 200 MXC '98 <1998> REAR BRAKE CONTROL Diagram
#
Description
Price
5
54310086000
Unavailable
30
BRAKE CYLIND. PROTECTOR 250'
54613038000
Unavailable
62
HOSE FOR RESERVOIR 6X1,5
58007016101
Unavailable
80
BRAKE FLUID DOT 4.0
306054
Unavailable
