- Partiron
- OEM Parts
- KTM
- Street
- Supermoto
- Supermoto / Dual Sport
- SM Small
- 125 Supermoto
- 125 Supermoto 2000
- 125 SUPERMOTO 80 2000
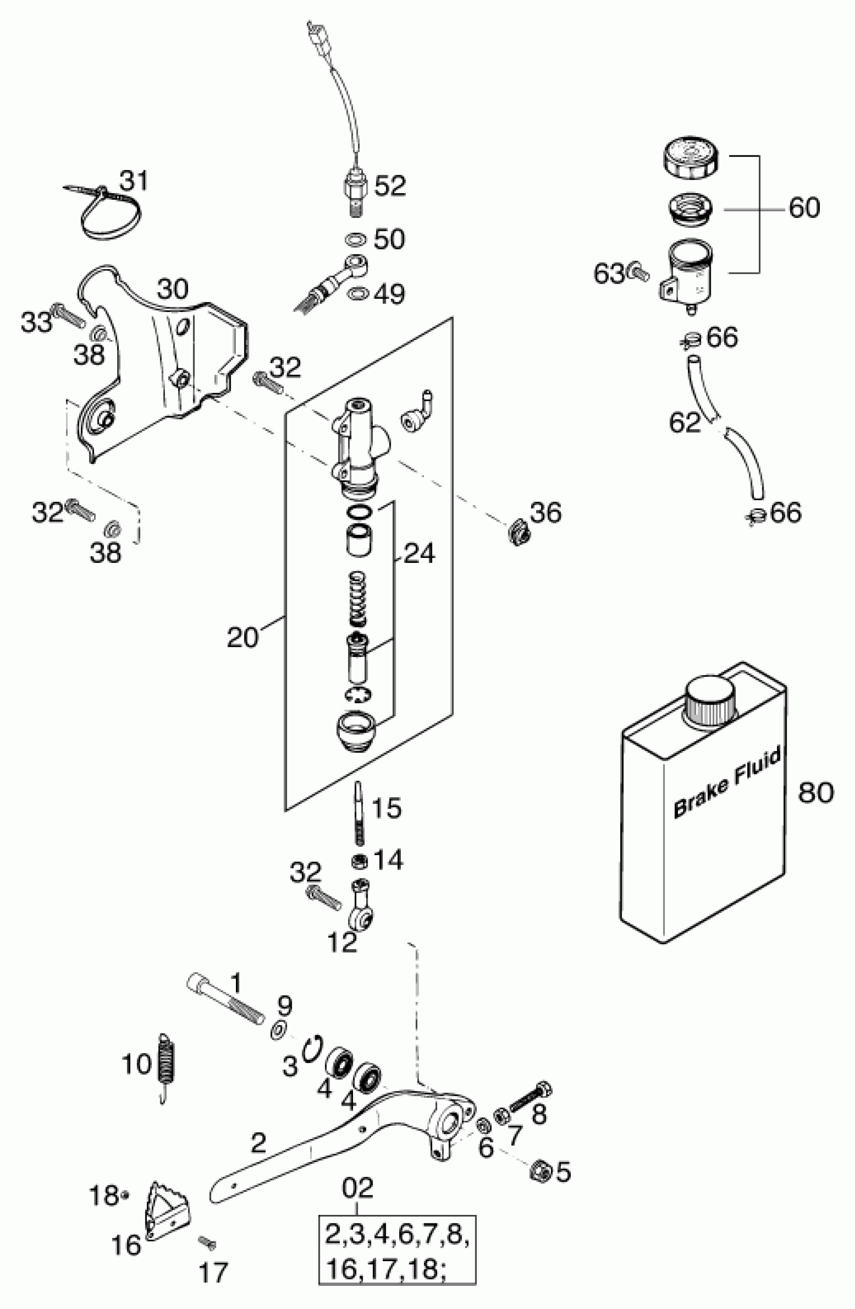
REAR BRAKE CONTROL
KTM 125 SUPERMOTO 80 2000 REAR BRAKE CONTROL Diagram
#
Description
Price
62
HOSE FOR RESERVOIR 6X1,5
58007016101
Unavailable
80
BRAKE FLUID DOT 4.0
306054
Unavailable
