125 LC2 100/ORANGE '97 <1997>
FRONT FORK, TRIPLE CLAMP
FRONT FORK DISASSEMBLED
HANDLEBAR, CONTROLS
FRAME
SIDE / CENTER STAND
SHOCK ABSORBER
PRO LEVER LINKING
SWING ARM
EXHAUST SYSTEM
AIR FILTER
TANK, SEAT
MASK, FENDERS
DECAL
FRONT WHEEL
REAR WHEEL
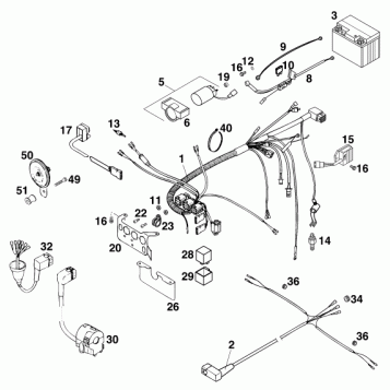
WIRING HARNESS
ACCESSORIES
FRONT BRAKE CONTROL
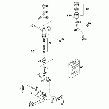
REAR BRAKE CONTROL
FRONT BRAKE CALIPER
REAR BRAKE CALIPER
LIGHTING SYSTEM
INSTRUMENTS / LOCK SYSTEM
Fuel Your Passion
Parts That Keep You Riding
Edit ride