- Partiron
- OEM Parts
- KTM
- Offroad
- Enduro
- E1
- 2 stroke
- 125 EXC
- 125 ECX M/Ö 1996
- 125 EGS M/Ö <1996>
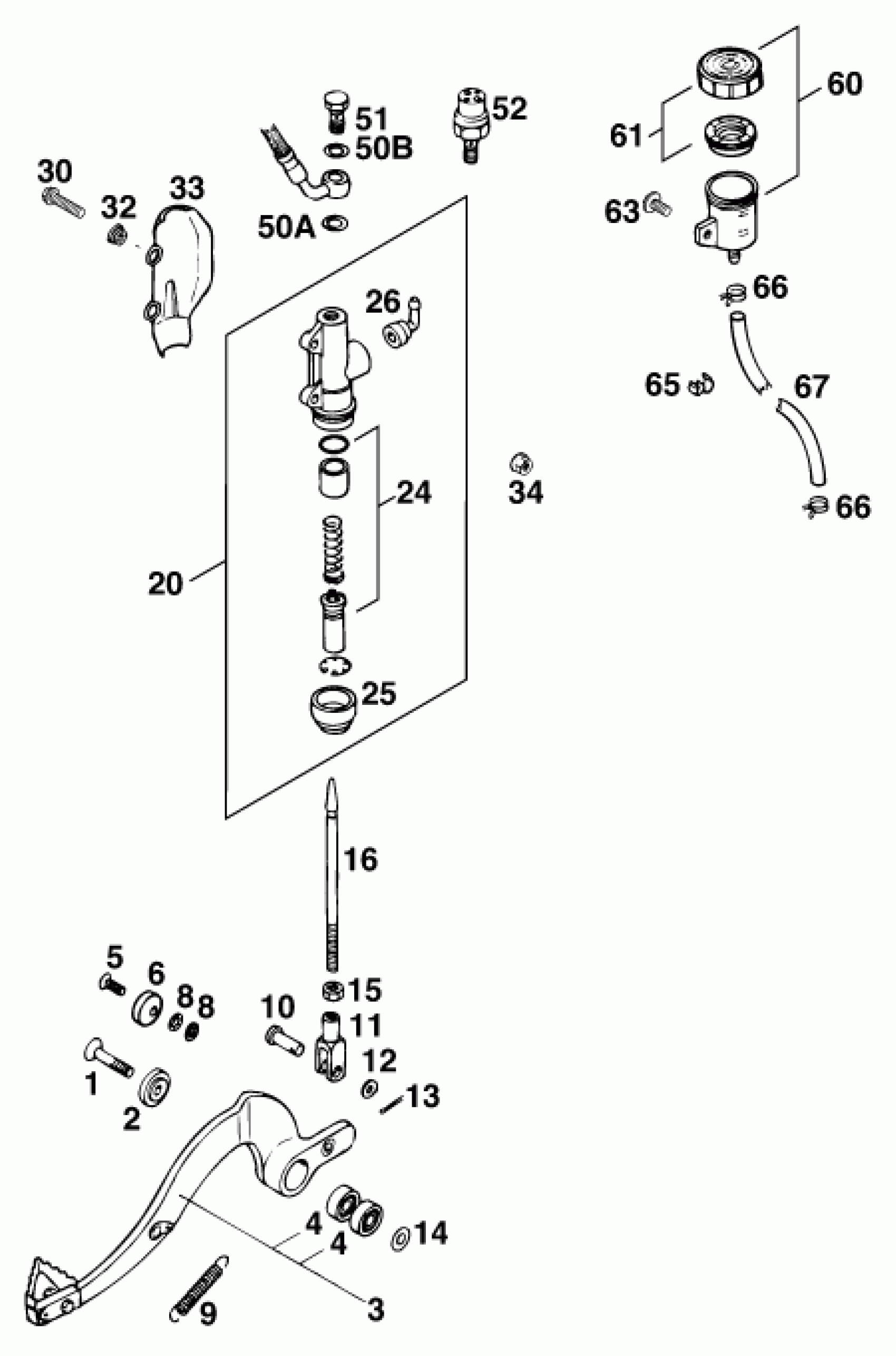
REAR BRAKE CONTROL
KTM 125 EGS M/Ö <1996> REAR BRAKE CONTROL Diagram
#
Description
Price
3
50203060544
Unavailable
34
SELF LOCKING NUT M6
56509064000
Unavailable
61
SCREW CAP FOR RESERVOIR
54513031044
Unavailable
67
HOSE FOR RESERVOIR 6X1,5
58007016101
Unavailable
