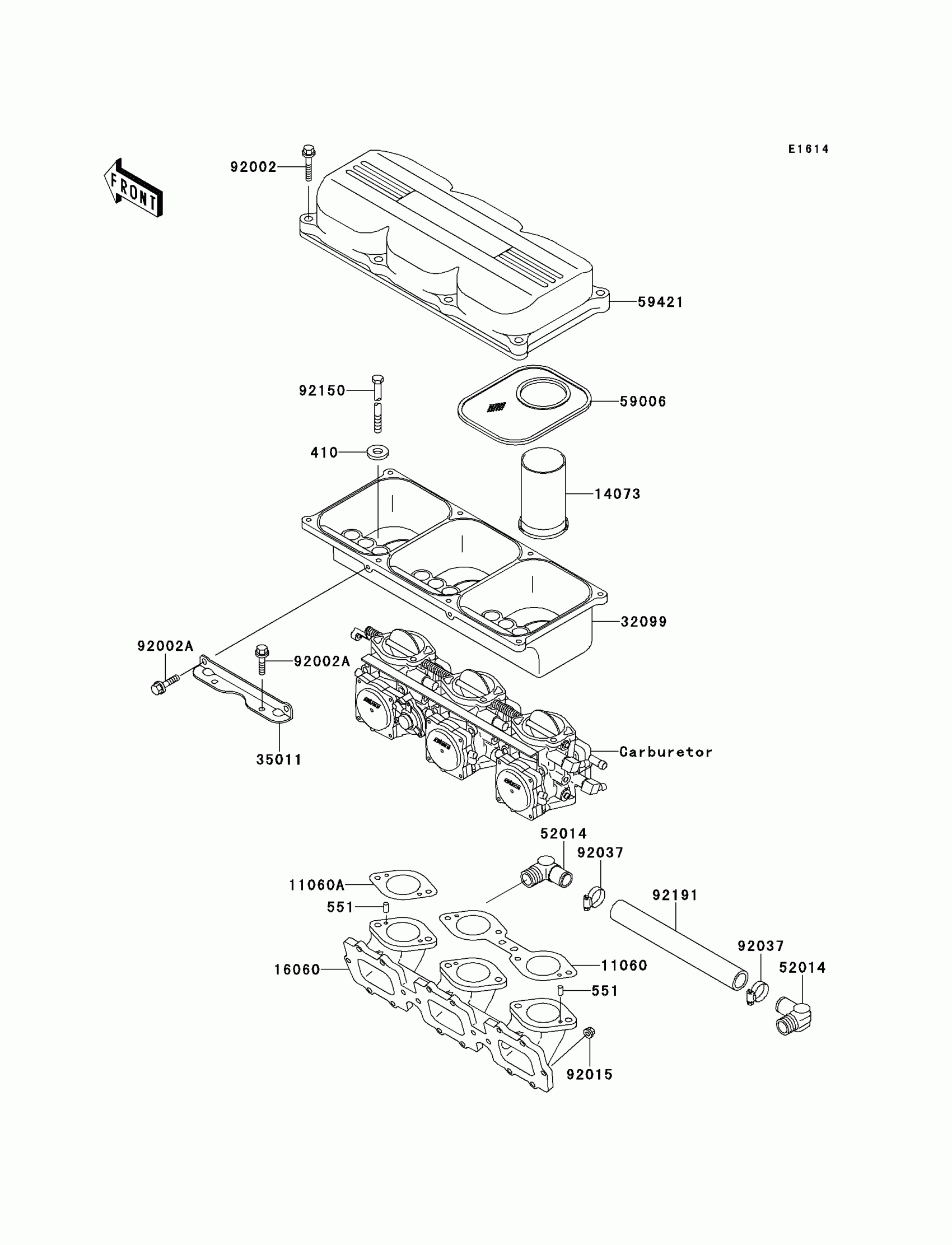
Partiron

Kawasaki 1100 STX Flame Arrester Diagram

#

Description
Price

410

WASHER-PLAIN-SMALL,6MM

410S0600

$0.78

551

PIN-DOWEL

551R0408

$5.38

11060

GASKET,CARBURETOR

11060-3775

$26.87

11060A

GASKET

11060-3776

$13.48

14073

DUCT

14073-3751

$35.72

16060

PIPE-INTAKE

16060-3704

$224.54

32099

CASE

32099-3782

$291.37

35011

STAY

35011-3707

$19.48

52014

ELBOW

52014-3712

$68.49

59006

ARRESTER-FLAME

59006-3713

$54.12

59421

COVER-INTAKE

59421-3724

$91.40

92002

BOLT,6X30

92002-3726

$4.69

92002A

BOLT,6X16

92002-3728

$4.69

92015

NUT,6MM

92015-3767

$4.69

92037

CLAMP,COOLING HOSE

92037-1589

$18.57

92150

BOLT,6X125

92150-3824

Unavailable

92191

TUBE

92191-3778

$25.67