- Partiron
- OEM Parts
- Can-Am
- SXS
- 2021
- SSV - Defender Series
- Defender PRO HD10 - Lone Star - 2021
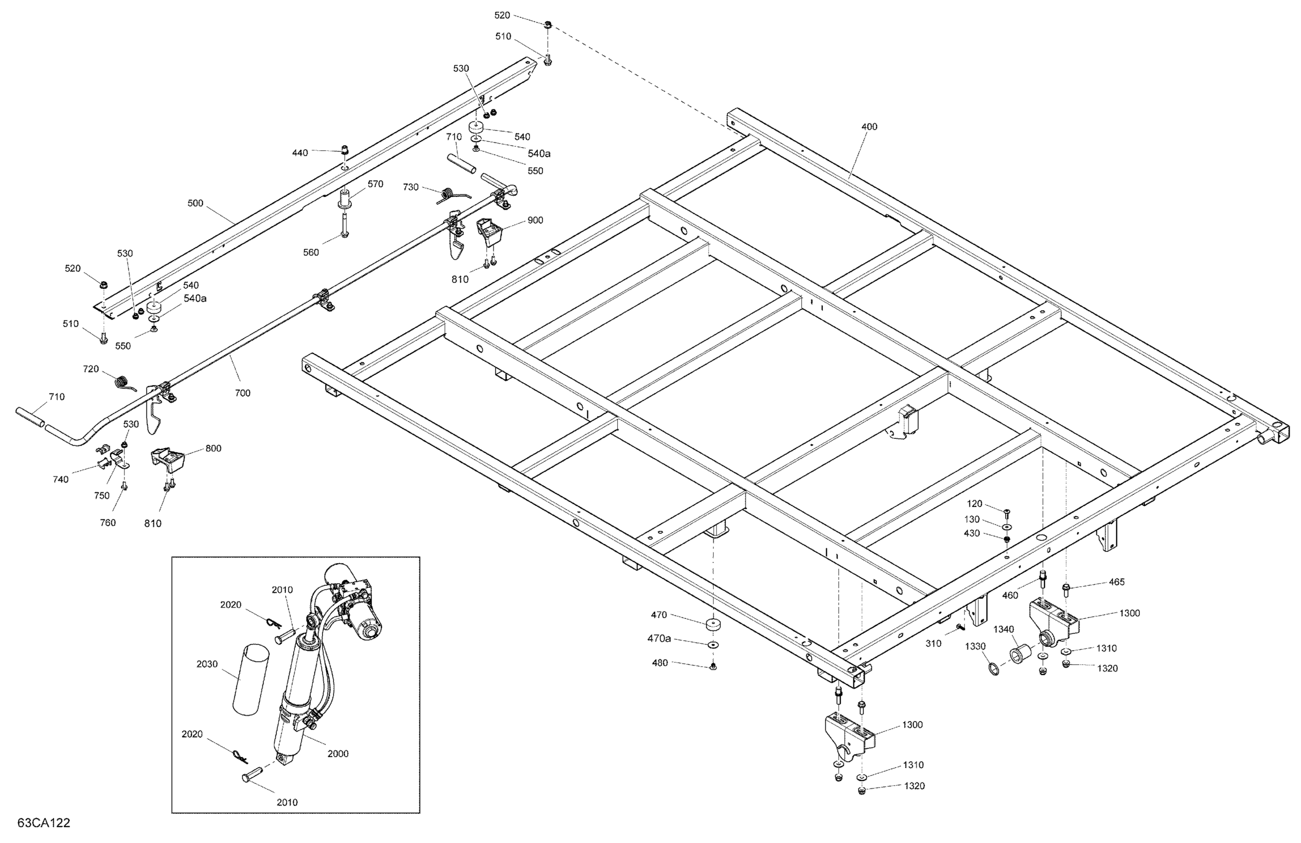
Body - Cargo - Lower Section
Can-Am Defender PRO HD10 - Lone Star - 2021 Body - Cargo - Lower Section Diagram
#
Description
Price
Body - Cargo - Lower Section
#
Edit ride
