- Partiron
- OEM Parts
- Ski-Doo
- 2023
- SKI-DOO - Europe - MXZ Series
- MXZ 200 - Europe, 2023
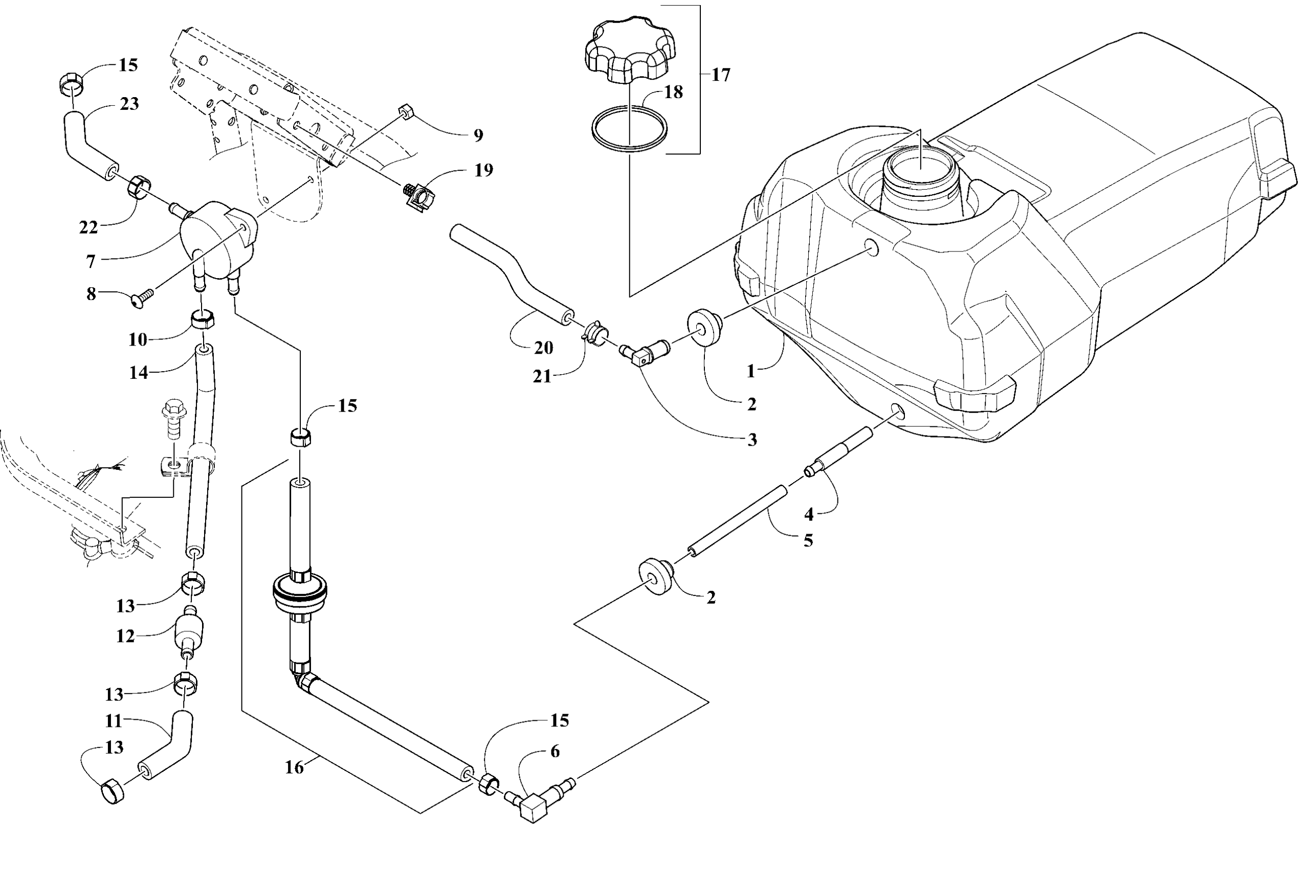
Gas Tank and Fuel Pump
Ski-Doo MXZ 200 - Europe, 2023 Gas Tank and Fuel Pump Diagram
#
Description
Price
Gas Tank and Fuel Pump
#
Edit ride
