- Partiron
- OEM Parts
- Ski-Doo
- 2023
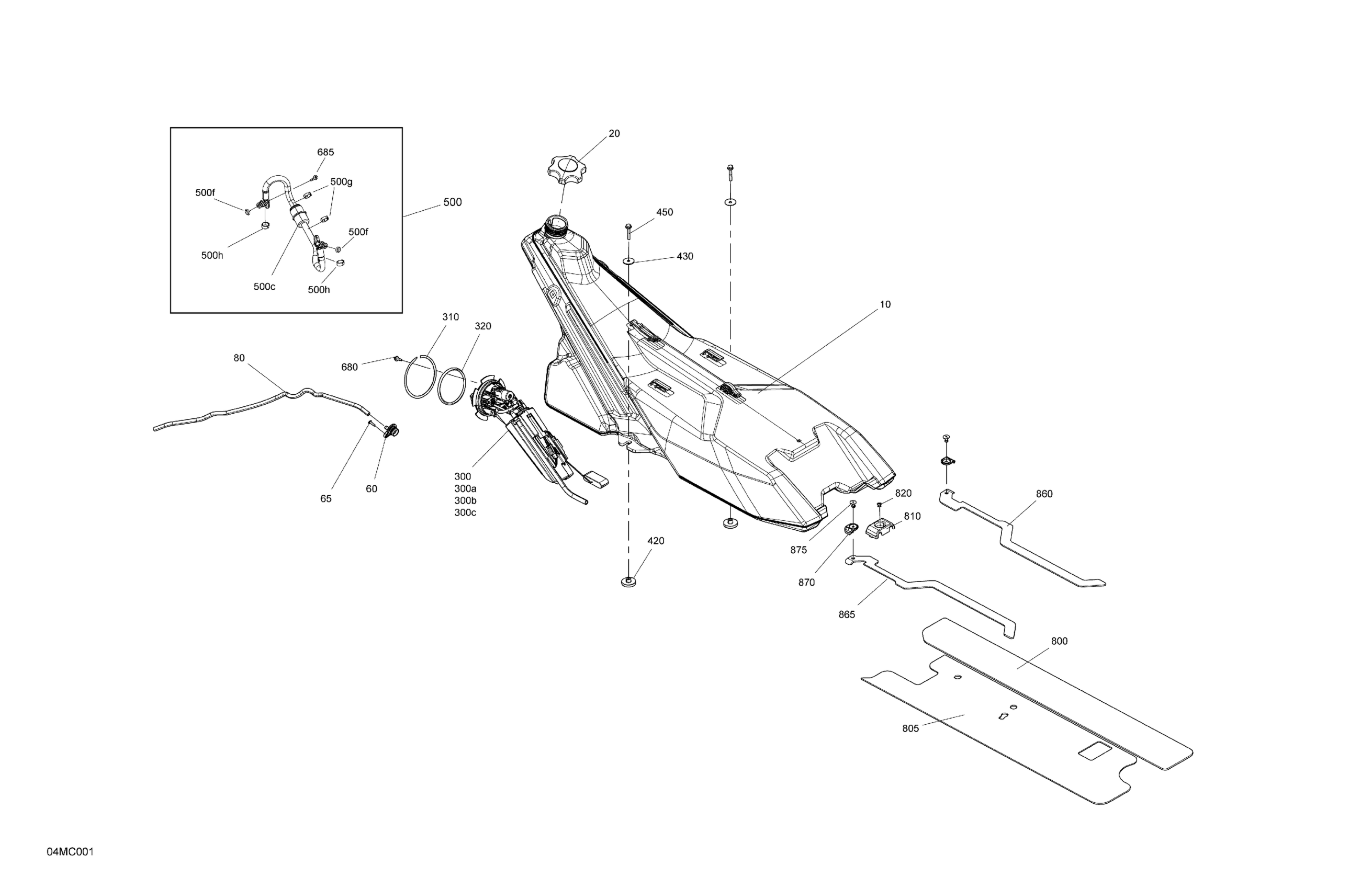
- SKI-DOO - BACKCOUNTRY Series
- BACKCOUNTRY 600 EFI - SPORT - (UBPA-UBPB) - 2023
Engine - Fuel
Ski-Doo BACKCOUNTRY 600 EFI - SPORT - (UBPA-UBPB) - 2023 Engine - Fuel Diagram
#
Description
Price
300a
Fuel Filter
415131068
Unavailable
