Partiron

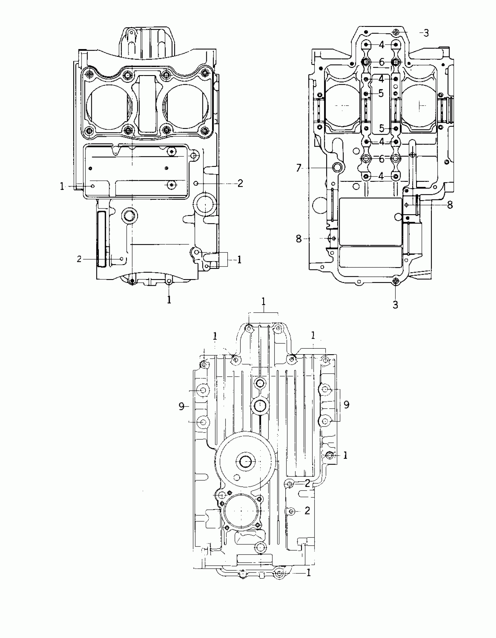
Kawasaki Special CRANKCASE BOLT & STUD PATTERN ('75 S) Diagram

#

Description
Price

1

BOLT,HEX HEAD,6X54

92003-110

$4.99

2

BOLT-FLANGED,6X95

130G0695

$5.21

3

PIN,DOWEL,10X14

92043-1037

$0.74

3

PIN,DOWEL,10X14

92043-1037

$0.74

3

PIN,DOWEL,10X14

92043-1037

Unavailable

4

PIN,DOWEL,6.3X8X14

92042-007

$5.70

5

PIN,DOWEL,10X14

92043-1037

$0.74

6

RING-O,OD=13

92055-074

$8.58

7

RING-O,19.5MM

92055-077

$6.57

8

PIN,DOWEL,6X16

92042-016

$5.00

9

BOLT-FLANGED,8X95

130P0895

$10.59