- Partiron
- OEM Parts
- Kawasaki
- motorcycle
- 1978
- Police 1000
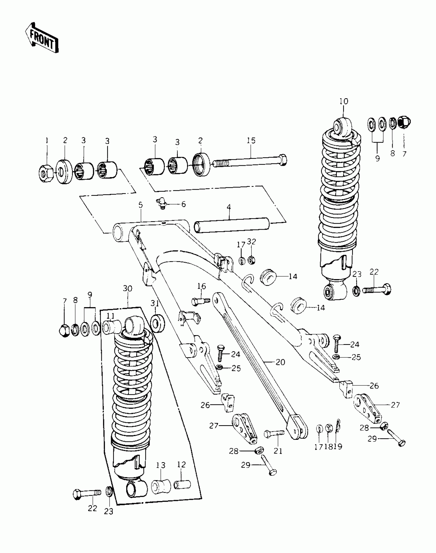
SWING ARM/SHOCK ABSORBERS ('78 C1/C1A)
Kawasaki Police 1000 SWING ARM/SHOCK ABSORBERS ('78 C1/C1A) Diagram
#
Description
Price
2
CAP,SWING ARM
33035-009
Unavailable
4
SLEEVE,SWING ARM
42036-1011
Unavailable
6
GREASE NIPPLE
92005-002
Unavailable
11
BUSHING,SHCK ABS RUB
45017-018
Unavailable
16
BOLT,HEX HEAD,10X39
92003-218
Unavailable
21
BOLT,10X47
92001-1145
Unavailable
31
SPACER,LH REAR SHOCK
92026-4001
Unavailable
