- Partiron
- OEM Parts
- Kawasaki
- motorcycle
- 1978
- Police 1000
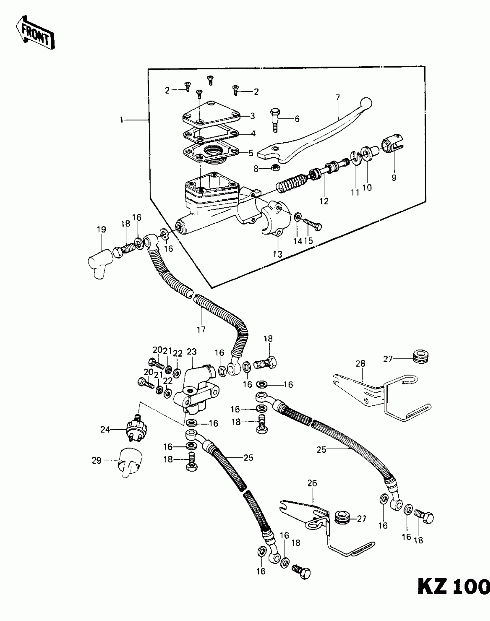
FRONT MASTER CYLINDER (KZ1000-C1A)
Kawasaki Police 1000 FRONT MASTER CYLINDER (KZ1000-C1A) Diagram
#
Description
Price
1
CYLINDER ASSY,MSTR,F
43015-1009
Unavailable
3
CAP,OIL CUP
43026-1003
Unavailable
4
PLATE,DIAPHRAGM
43027-1002
Unavailable
5
DIAPHRAGM
43028-1002
Unavailable
6
BOLT,FR BRAKE LEVER
92001-1056
Unavailable
7
LEVER,FRONT BRAKE
46092-1002
Unavailable
9
LINER,PISTON
14008-1007
Unavailable
10
COVER-SEAL,BRAKE PISTON
49016-1010
Unavailable
11
STOPPER-BRAKE,PISTON
43022-1001
Unavailable
13
HOLDER-BRAKE,MASTER CYLINDER
43034-1001
Unavailable
17
HOSE,FRONT BRAKE
43059-022
Unavailable
24
SWITCH-FRONT BRAKE
43065-001
Unavailable
25
HOSE,CALIPER BRAKE
43059-033
Unavailable
26
BRACKET
11034-1041
Unavailable
28
BRACKET,BRK HOSE,R.H
11034-1063
Unavailable
29
CAP,FRONT BRK SWITCH
11012-1037
Unavailable
