Kawasaki GPz HEADLIGHT (KZ1100-B1) Diagram
#
Description
Price
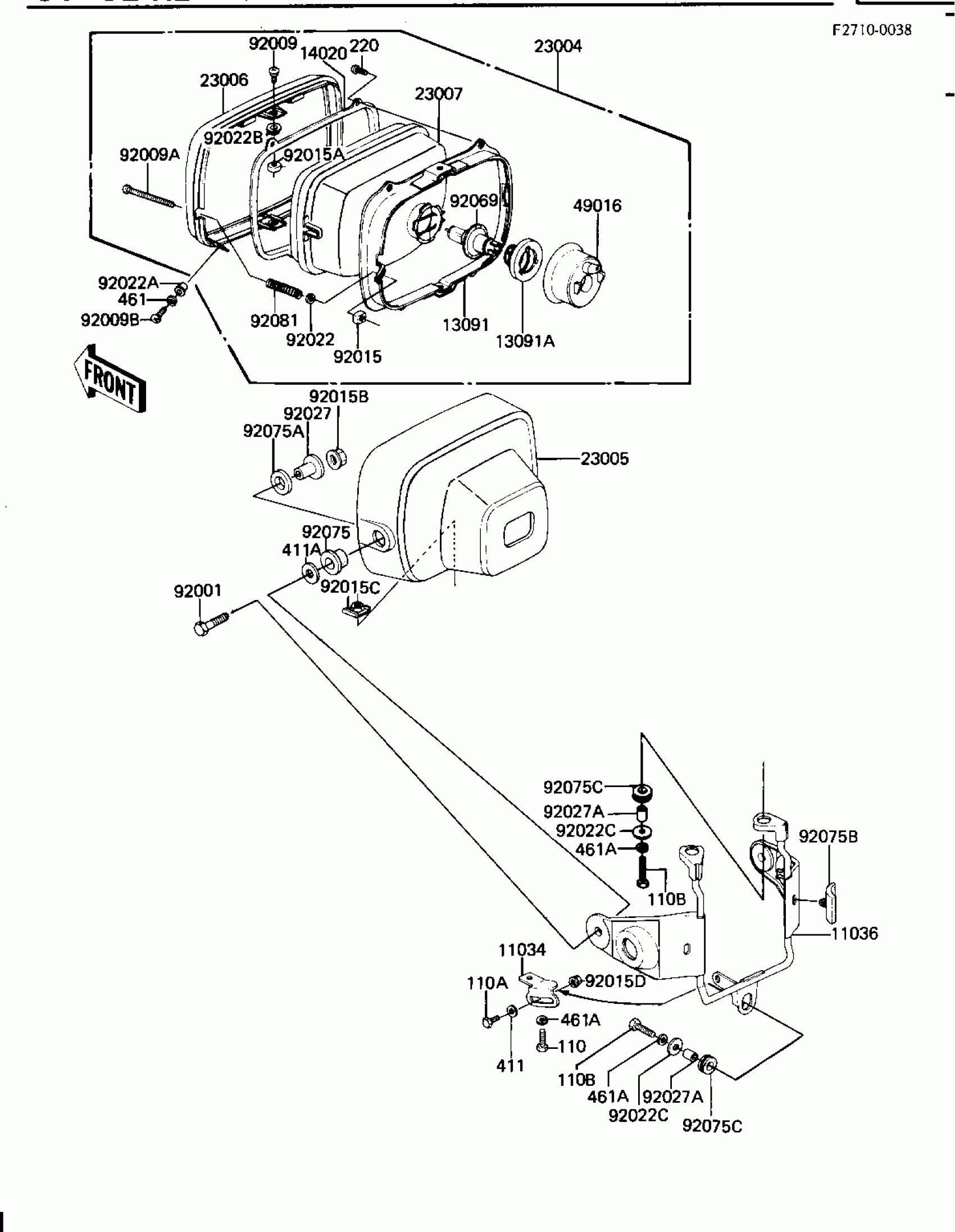
11034
BRACKET,HEAD LAMP
11034-1937
Unavailable
11036
BRACKET-A,HEAD LAMP
11036-1059
Unavailable
13091
HOLDER,HEAD LAMP MOUN
13091-1035
Unavailable
14020
RETAINER,HEAD LAMP
14020-1005
Unavailable
23005
BODY-COMP-HEAD LAMP,
23005-1024-21
Unavailable
23006
RIM,HEAD LAMP
23006-1005
Unavailable
92015A
NUT,5MM
23020-023
Unavailable
92015C
NUT,HEAD LAMP BODY FT
92015-1050
Unavailable
92015D
NUT,FLANGED,6MM
92015-1078
Unavailable
92069
BULB,12V 60/55W,H4
92069-1002
Unavailable
92075B
DAMPER RUBBER
92075-1243
Unavailable
110A
BOLT-UPSET 6X14
112B0614
Unavailable
